质量稳定可靠
结构特点、性能、适用范围
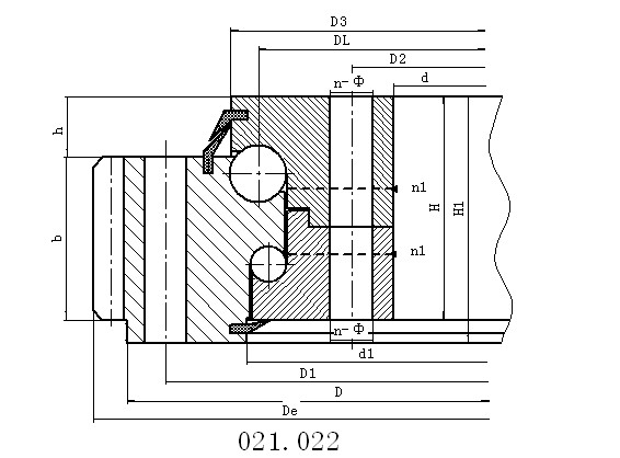
双排球式乐动(中国)具有三个座圈,钢球和隔离块可直接排入上下滚道,根据受力状况,安排了上下两排直径不同的钢球。这种开式装配非常方便,上下圆弧滚道的承载角都为90°,能承受很大的轴向力和倾翻力矩。当径向力大于0.1倍的轴向力时滚道须特殊设计。双排球式乐动(中国)的轴向、径向尺寸都比较大,结构紧固。特别适用于要求中等以上直径的塔式起重机,汽车起重机等装卸机械上。
|
序 |
外齿式 |
外型尺寸 |
安装尺寸 |
结构尺寸 |
齿轮参数 |
齿轮圆周力 |
参考 |
||||||||||||
|
D |
d |
H |
D1 |
D2 |
n |
mm |
n1 |
H1 |
h |
b |
x |
m |
De |
z |
正火 |
调质 |
|||
|
1 |
021.25.500 |
616 |
384 |
106 |
580 |
420 |
20 |
18 |
4 |
96 |
26 |
60 |
0.5 |
5 |
644 |
126 |
3.7 |
5.2 |
100 |
|
022.25.500 |
6 |
646.8 |
105 |
4.5 |
6.2 |
||||||||||||||
|
2 |
021.25.560 |
676 |
444 |
106 |
640 |
480 |
20 |
18 |
4 |
96 |
26 |
60 |
0.5 |
5 |
704 |
138 |
3.7 |
5.2 |
115 |
|
022.25.560 |
6 |
706.8 |
115 |
4.5 |
6.2 |
||||||||||||||
|
3 |
021.25.630 |
746 |
514 |
106 |
710 |
550 |
24 |
18 |
4 |
96 |
26 |
60 |
0.5 |
6 |
790.8 |
129 |
4.5 |
6.2 |
130 |
|
022.25.630 |
8 |
790.4 |
96 |
6 |
8.3 |
||||||||||||||
|
4 |
021.25.710 |
826 |
594 |
106 |
790 |
630 |
24 |
18 |
4 |
96 |
26 |
60 |
0.5 |
6 |
862.8 |
141 |
4.5 |
6.2 |
140 |
|
022.25.710 |
8 |
862.4 |
105 |
6 |
8.3 |
||||||||||||||
|
5 |
021.30.800 |
942 |
658 |
124 |
898 |
702 |
30 |
22 |
6 |
114 |
29 |
80 |
0.5 |
8 |
982.4 |
120 |
8 |
11.1 |
200 |
|
022.30.800 |
10 |
988 |
96 |
10 |
14 |
||||||||||||||
|
6 |
021.30.900 |
1042 |
758 |
124 |
998 |
802 |
30 |
22 |
6 |
114 |
29 |
80 |
0.5 |
8 |
1086.4 |
133 |
8 |
11.1 |
250 |
|
022.30.900 |
10 |
1088 |
106 |
10 |
14 |
||||||||||||||
|
7 |
021.30.1000 |
1142 |
858 |
124 |
1098 |
902 |
36 |
22 |
6 |
114 |
29 |
80 |
0.5 |
10 |
1198 |
117 |
10 |
14 |
300 |
|
022.30.1000 |
12 |
1197.6 |
97 |
12 |
16.7 |
||||||||||||||
|
8 |
021.30.1120 |
1262 |
978 |
124 |
1218 |
1022 |
36 |
22 |
6 |
114 |
29 |
80 |
0.5 |
10 |
1318 |
129 |
10 |
14 |
340 |
|
022.30.1120 |
12 |
1317.6 |
107 |
12 |
16.7 |
||||||||||||||
|
9 |
021.40.1250 |
1426 |
1074 |
160 |
1374 |
1126 |
40 |
26 |
5 |
150 |
39 |
90 |
0.5 |
12 |
1497.6 |
122 |
13.5 |
18.8 |
580 |
|
022.40.1250 |
14 |
1495.2 |
104 |
15.8 |
21.9 |
||||||||||||||
|
10 |
021.40.1400 |
1576 |
1224 |
160 |
1524 |
1272 |
40 |
26 |
5 |
150 |
39 |
90 |
0.5 |
12 |
1641.6 |
134 |
13.5 |
18.8 |
650 |
|
022.40.1400 |
14 |
1649.2 |
115 |
15.8 |
21.9 |
||||||||||||||
|
11 |
021.40.1600 |
1776 |
1424 |
160 |
1724 |
1476 |
45 |
26 |
5 |
150 |
39 |
90 |
0.5 |
14 |
1845.2 |
129 |
15.8 |
21.9 |
750 |
|
022.40.1600 |
16 |
1852.8 |
113 |
18.1 |
25 |
||||||||||||||
|
12 |
021.40.1800 |
1976 |
1624 |
160 |
1924 |
1676 |
45 |
26 |
5 |
150 |
39 |
90 |
0.5 |
14 |
2055.2 |
144 |
15.8 |
21.9 |
820 |
|
022.40.1800 |
16 |
2060.8 |
126 |
18.1 |
25 |
||||||||||||||
|
13 |
021.50.2000 |
2215 |
1785 |
190 |
2149 |
1851 |
48 |
33 |
8 |
178 |
47 |
120 |
0.5 |
16 |
2300.8 |
141 |
24.1 |
33.3 |
1150 |
|
022.50.2000 |
18 |
2300.4 |
125 |
27.1 |
37.5 |
||||||||||||||
|
14 |
021.50.2240 |
2455 |
2025 |
190 |
2389 |
2091 |
48 |
33 |
8 |
178 |
47 |
120 |
0.5 |
16 |
2540.8 |
156 |
24.1 |
33.3 |
1500 |
|
022.50.2240 |
18 |
2552.4 |
139 |
27.1 |
37.5 |
||||||||||||||
|
15 |
021.50.2500 |
2715 |
2285 |
190 |
2649 |
2351 |
56 |
33 |
8 |
178 |
47 |
120 |
0.5 |
18 |
2804.4 |
153 |
27.1 |
37.5 |
1700 |
|
022.50.2500 |
20 |
2816 |
138 |
30.1 |
41.8 |
||||||||||||||
|
16 |
021.50.2800 |
3015 |
2585 |
190 |
2949 |
2651 |
56 |
33 |
8 |
178 |
47 |
120 |
0.5 |
18 |
3110.4 |
170 |
27.1 |
37.5 |
1900 |
|
022.50.2800 |
20 |
3116 |
153 |
30.1 |
41.8 |
||||||||||||||
|
17 |
021.60.3150 |
3428 |
2872 |
226 |
3338 |
2962 |
56 |
45 |
8 |
214 |
56 |
150 |
0.5 |
20 |
3536 |
174 |
37.7 |
52.2 |
3300 |
|
022.60.3150 |
22 |
3537.6 |
158 |
41.5 |
57.4 |
||||||||||||||
|
18 |
021.60.3550 |
3828 |
3272 |
226 |
3738 |
3362 |
56 |
45 |
8 |
214 |
56 |
150 |
0.5 |
20 |
3936 |
194 |
37.7 |
52.2 |
3700 |
|
022.60.3550 |
22 |
3933.6 |
176 |
41.5 |
57.4 |
||||||||||||||
|
19 |
021.60.4000 |
4278 |
3722 |
226 |
4188 |
3812 |
60 |
45 |
10 |
214 |
56 |
150 |
0.5 |
22 |
4395.6 |
197 |
41.5 |
57.4 |
4200 |
|
022.60.4000 |
25 |
4395 |
173 |
47.1 |
65.2 |
||||||||||||||
|
20 |
021.60.4500 |
4778 |
4222 |
226 |
4688 |
4312 |
60 |
45 |
10 |
214 |
56 |
150 |
0.5 |
22 |
4879.6 |
219 |
41.5 |
57.4 |
4700 |
|
022.60.4500 |
25 |
4895 |
193 |
47.1 |
65.2 |
||||||||||||||
注:
1、n1为润滑油孔数,均布:油杯M10×1 JB/T7940.1-JBT7940.2
2、安装孔n-dn1、n-dn2可改用螺孔;齿宽b可改为H-h。
3、表内齿轮圆周力为最大圆周力,额定圆周力取其1/2。
4、外齿修顶系数0.1。