质量稳定可靠
结构特点、性能、适用范围
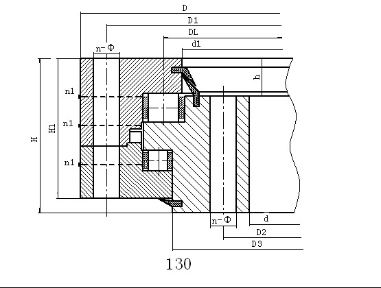
三排滚柱式乐动(中国)有三个座圈,上下及径向滚道各自分开,使得每一排滚柱的负载都能确切地加以确定。能够同时承受各种载荷,是四种产品中承载能力较大的一种,轴、径向尺寸都较大,结构牢固,特别适用于要求较大直径的重型机械,如斗轮式挖掘机、轮式起重机、船用起重机、港口起重机、钢水运转台及大吨位汽车起重机等机械上。
|
序号 |
无齿式 |
外型尺寸 |
安装尺寸 |
结构尺寸 |
参考 |
|||||||||
|
D |
d |
H |
D1 |
D2 |
n |
Ø |
dm |
L |
n1 |
H1 |
h |
|||
|
1 |
130.25.500 |
634 |
366 |
148 |
598 |
402 |
24 |
18 |
M16 |
32 |
4 |
10 |
32 |
224 |
|
2 |
130.25.560 |
694 |
426 |
148 |
658 |
462 |
24 |
18 |
M16 |
32 |
4 |
10 |
32 |
240 |
|
3 |
130.25.630 |
764 |
496 |
148 |
728 |
532 |
28 |
18 |
M16 |
32 |
4 |
10 |
32 |
270 |
|
4 |
130.25.710 |
844 |
576 |
148 |
808 |
612 |
28 |
18 |
M16 |
32 |
4 |
10 |
32 |
300 |
|
5 |
130.32.800 |
964 |
636 |
182 |
920 |
680 |
36 |
22 |
M20 |
40 |
4 |
10 |
40 |
500 |
|
6 |
130.32.900 |
1064 |
736 |
182 |
1020 |
780 |
36 |
22 |
M20 |
40 |
4 |
10 |
40 |
600 |
|
7 |
130.32.1000 |
1164 |
836 |
182 |
1120 |
880 |
40 |
22 |
M20 |
40 |
5 |
10 |
40 |
680 |
|
8 |
130.32.1120 |
1284 |
956 |
182 |
1240 |
1000 |
40 |
22 |
M20 |
40 |
5 |
10 |
40 |
820 |
|
9 |
130.40.1250 |
1445 |
1055 |
220 |
1393 |
1107 |
45 |
26 |
M24 |
48 |
5 |
10 |
50 |
1200 |
|
10 |
130.40.1400 |
1595 |
1205 |
220 |
1543 |
1257 |
45 |
26 |
M24 |
48 |
5 |
10 |
50 |
1300 |
|
11 |
130.40.1600 |
1795 |
1405 |
220 |
1743 |
1457 |
48 |
26 |
M24 |
48 |
6 |
10 |
50 |
1520 |
|
12 |
130.40.1800 |
1995 |
1605 |
220 |
1943 |
1657 |
48 |
26 |
M24 |
48 |
6 |
10 |
50 |
1750 |
|
13 |
130.45.2000 |
2221 |
1779 |
231 |
2155 |
1845 |
60 |
33 |
M30 |
60 |
6 |
12 |
54 |
2400 |
|
14 |
130.45.2240 |
2461 |
2019 |
231 |
2395 |
2085 |
60 |
33 |
M30 |
60 |
6 |
12 |
54 |
2700 |
|
15 |
130.45.2500 |
2721 |
2279 |
231 |
2655 |
2345 |
72 |
33 |
M30 |
60 |
8 |
12 |
54 |
3000 |
|
16 |
130.45.2800 |
3021 |
2579 |
231 |
2955 |
2645 |
72 |
33 |
M30 |
60 |
8 |
12 |
54 |
3400 |
|
17 |
130.50.3150 |
3432 |
2868 |
270 |
3342 |
2958 |
72 |
45 |
M42 |
84 |
8 |
12 |
65 |
5000 |
注:
1、n1为润滑油孔数,均布:油杯M10×1 JB/T7940.1-JB/ T7940.2
2、安装孔n-dn1、n-dn2可改用螺孔;齿宽b可改为H-h。
3、表内齿轮圆周力为最大圆周力,额定圆周力取其1/2。
4、内齿修顶系数为0.2。