质量稳定可靠
结构特点、性能、适用范围
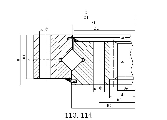
单排交叉滚柱式乐动(中国),由两个座圈组成,结构紧凑、重量轻、制造精度高,装配间隙小,对安装精度要求高,滚柱为1:1交叉排列,能同时承受轴向力,倾翻力矩和较大的径向力,被广泛地用于起重运输、工程机械和军工产品上。
|
序号 |
内齿式 |
外型尺寸 |
安装尺寸 |
结构尺寸 |
齿轮参数 |
齿轮圆周力 |
参考 |
||||||||||||||||
|
D |
d |
H |
D1 |
D2 |
n |
mm |
dm |
L |
n1 |
D3 |
d1 |
H1 |
h |
b |
x |
m |
De |
z |
正火 |
调质 |
|||
|
1 |
113.25.500 |
602 |
398 |
75 |
566 |
434 |
20 |
18 |
M16 |
32 |
4 |
498 |
502 |
65 |
10 |
60 |
0.5 |
5 |
367 |
74 |
3.7 |
5.2 |
80 |
|
114.25.500 |
6 |
368.4 |
62 |
4.5 |
6.2 |
||||||||||||||||||
|
2 |
113.25.560 |
662 |
458 |
75 |
626 |
494 |
20 |
18 |
M16 |
32 |
4 |
558 |
562 |
65 |
10 |
60 |
0.5 |
5 |
427 |
86 |
3.7 |
5.2 |
90 |
|
114.25.560 |
6 |
428.4 |
72 |
4.5 |
6.2 |
||||||||||||||||||
|
3 |
113.25.630 |
732 |
528 |
75 |
696 |
564 |
24 |
18 |
M16 |
32 |
4 |
628 |
632 |
65 |
10 |
60 |
0.5 |
6 |
494.4 |
83 |
4.5 |
6.2 |
100 |
|
114.25.630 |
8 |
491.2 |
62 |
6 |
8.3 |
||||||||||||||||||
|
4 |
113.25.710 |
812 |
608 |
75 |
776 |
644 |
24 |
18 |
M16 |
32 |
4 |
708 |
712 |
65 |
10 |
60 |
0.5 |
6 |
572.4 |
96 |
4.5 |
6.2 |
110 |
|
114.25.710 |
8 |
571.2 |
72 |
6 |
8.3 |
||||||||||||||||||
|
5 |
113.28.800 |
922 |
678 |
82 |
878 |
722 |
30 |
22 |
M20 |
40 |
6 |
798 |
802 |
72 |
10 |
65 |
0.5 |
8 |
635.2 |
80 |
6.5 |
9.1 |
170 |
|
114.28.800 |
10 |
634 |
64 |
8.1 |
11.4 |
||||||||||||||||||
|
6 |
113.28.900 |
1022 |
778 |
82 |
978 |
822 |
30 |
22 |
M20 |
40 |
6 |
898 |
902 |
72 |
10 |
65 |
0.5 |
8 |
739.2 |
93 |
6.5 |
9.1 |
190 |
|
114.28.900 |
10 |
734 |
74 |
8.1 |
11.4 |
||||||||||||||||||
|
7 |
113.28.1000 |
1122 |
878 |
82 |
1078 |
922 |
36 |
22 |
M20 |
40 |
6 |
998 |
1002 |
72 |
10 |
65 |
0.5 |
10 |
824 |
83 |
8.1 |
11.4 |
210 |
|
114.28.1000 |
12 |
820.8 |
69 |
9.7 |
13.6 |
||||||||||||||||||
|
8 |
113.28.1120 |
1242 |
998 |
82 |
1198 |
1042 |
36 |
22 |
M20 |
40 |
6 |
1118 |
1122 |
72 |
10 |
65 |
0.5 |
10 |
944 |
95 |
8.1 |
11.4 |
230 |
|
114.28.1120 |
12 |
940.8 |
79 |
9.7 |
13.6 |
||||||||||||||||||
|
9 |
113.32.1250 |
1390 |
1110 |
91 |
1337 |
1163 |
40 |
26 |
M24 |
48 |
5 |
1248 |
1252 |
81 |
10 |
75 |
0.5 |
12 |
1048.8 |
88 |
11.3 |
15.7 |
350 |
|
114.32.1250 |
14 |
1041.6 |
75 |
13.2 |
18.2 |
||||||||||||||||||
|
10 |
113.32.1400 |
1540 |
1260 |
91 |
1487 |
1313 |
40 |
26 |
M24 |
48 |
5 |
1398 |
1402 |
81 |
10 |
75 |
0.5 |
12 |
1192.8 |
100 |
11.3 |
15.7 |
400 |
|
114.32.1400 |
14 |
1195.6 |
86 |
13.2 |
18.2 |
||||||||||||||||||
|
11 |
113.32.1600 |
1740 |
1460 |
91 |
1687 |
1513 |
45 |
26 |
M24 |
48 |
5 |
1598 |
1602 |
81 |
10 |
75 |
0.5 |
14 |
1391.6 |
100 |
13.2 |
18.2 |
440 |
|
114.32.1600 |
16 |
1382.4 |
87 |
15.1 |
22.4 |
||||||||||||||||||
|
12 |
113.32.1800 |
1940 |
1660 |
91 |
1887 |
1713 |
45 |
26 |
M24 |
48 |
5 |
1798 |
1802 |
81 |
10 |
75 |
0.5 |
14 |
1573.6 |
113 |
13.2 |
18.2 |
500 |
|
114.32.1800 |
16 |
1574.4 |
99 |
15.1 |
22.4 |
||||||||||||||||||
|
13 |
113.40.2000 |
2178 |
1825 |
112 |
2110 |
1891 |
48 |
33 |
M30 |
60 |
8 |
1997 |
2003 |
100 |
12 |
90 |
0.5 |
16 |
1734.4 |
109 |
18.1 |
25 |
900 |
|
114.40.2000 |
18 |
1735.2 |
97 |
20.3 |
28.1 |
||||||||||||||||||
|
14 |
113.40.2240 |
2418 |
2065 |
112 |
2350 |
2131 |
48 |
33 |
M30 |
60 |
8 |
2237 |
2243 |
100 |
12 |
90 |
0.5 |
16 |
1990.4 |
125 |
18.1 |
25 |
1000 |
|
114.40.2240 |
18 |
1987.2 |
111 |
20.3 |
28.1 |
||||||||||||||||||
|
15 |
113.40.2500 |
2678 |
2325 |
112 |
2610 |
2391 |
56 |
33 |
M30 |
60 |
8 |
2497 |
2503 |
100 |
12 |
90 |
0.5 |
18 |
2239.2 |
125 |
20.3 |
28.1 |
1100 |
|
114.40.2500 |
20 |
2228 |
112 |
22.6 |
31.3 |
||||||||||||||||||
|
16 |
113.40.2800 |
2978 |
2625 |
112 |
2910 |
2691 |
56 |
33 |
M30 |
60 |
8 |
2797 |
2803 |
100 |
12 |
90 |
0.5 |
18 |
2527.2 |
141 |
20.3 |
28.1 |
1250 |
|
114.40.2800 |
20 |
2528 |
127 |
22.6 |
31.3 |
||||||||||||||||||
|
17 |
113.50.3150 |
3376 |
2922 |
134 |
3286 |
3014 |
56 |
45 |
M42 |
84 |
8 |
3147 |
3153 |
122 |
12 |
110 |
0.5 |
20 |
2828 |
142 |
27.6 |
38.3 |
2150 |
|
114.50.3150 |
22 |
2824.8 |
129 |
30.4 |
42.1 |
||||||||||||||||||
|
18 |
113.50.3550 |
3776 |
3322 |
134 |
3686 |
3414 |
56 |
45 |
M42 |
84 |
8 |
3547 |
3553 |
122 |
12 |
110 |
0.5 |
20 |
3228 |
162 |
30.4 |
38.3 |
2470 |
|
114.50.3550 |
22 |
3220.8 |
147 |
30.4 |
42.1 |
||||||||||||||||||
|
19 |
113.50.4000 |
4226 |
3772 |
134 |
4136 |
3864 |
60 |
45 |
M42 |
84 |
10 |
3997 |
4003 |
122 |
12 |
110 |
0.5 |
22 |
3660.8 |
167 |
30.4 |
42.1 |
2800 |
|
114.50.4000 |
25 |
3660 |
147 |
34.5 |
47.8 |
||||||||||||||||||
|
20 |
113.50.4500 |
4726 |
4272 |
134 |
4636 |
4364 |
60 |
45 |
M42 |
84 |
10 |
4497 |
4503 |
122 |
12 |
110 |
0.5 |
22 |
4166.8 |
190 |
30.4 |
42.1 |
3100 |
|
114.50.4500 |
25 |
4160 |
167 |
34.5 |
47.8 |
||||||||||||||||||
|
注: |